2022.09.01
我的理解:
位扩展对应数据线(比如八个一个字1bit的芯片拼成8bit一个字的芯片)
字扩展对应地址线(比如增加两个最高位用来指定某个芯片)
位扩展法

字扩展法

字位同时扩展法

线选法
| 信号(四根线) | 对应芯片 |
|---|---|
| 0001 | 0 |
| 0010 | 1 |
| 0100 | 2 |
| 1000 | 3 |
译码片选法
| 信号 | 对应芯片 |
|---|---|
| 00 | 0 |
| 01 | 1 |
| 10 | 2 |
| 11 | 3 |
一般高电平有效,如果取反就是低电平有效
用存储容量为 16Kx1 位的存储器芯片来组成一个64Kx8位的存储器,则在字方向和位方向分别扩展了( )倍 A. 4,2 B. 8,4 C. 2,4 D. 4,8
【答案】:D
80386DX 是32位系统,以 4B 为编址单位,当在该系统中用 8KB(8Kx8位)的存储芯片构造32KB 的存储体时,应完成存储器的( )设计。 A.位扩展 B.字扩展 C.字位扩展 D.字位均不扩展
【答案】:A
某计算机字长为16位,存储器容量为256KB,CPU 按字寻址,其寻址范围是( ) A. 0 - 2^19-1 B. 0 - 2^20-1 C. 0 - 2^18-1 D. 0 - 2^17-1
【答案】:16,256KB=2^18B,2^18B / 2B = 2^17B,D
4个16Kx8位的存储芯片,可设计为( )容量的存储器。 A. 32Kx16位 B. 16K×16位 C. 32Kx8位 D. 8Kx16位
【答案】:A
16片 2Kx4 位的存储器可以设计为( )存储容量的16位存储器。 A. 16K B. 32K C. 8K D. 2K
【答案】:C
设CPU地址总线有24根,数据总线有32根,用512Kx8位的RAM 芯片构成该机的主存储器,则该机主存最多需要( )片这样的存储芯片。 A. 256 B. 512 C. 64 D. 128
【答案】:2^24/2^19=2^5,32/8=4,D
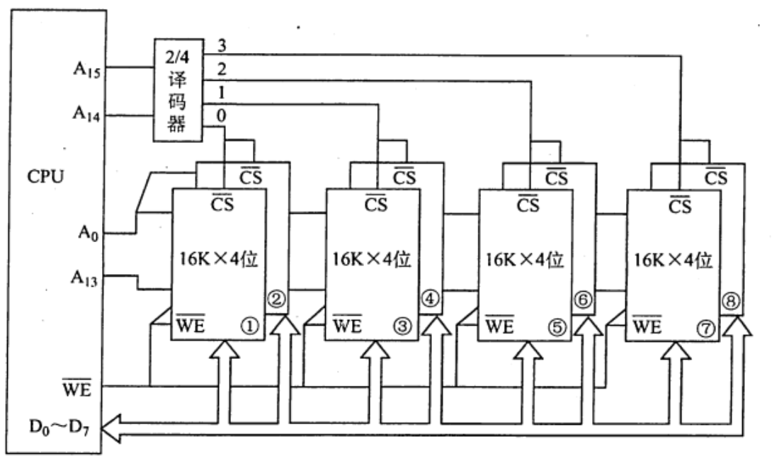
地址总线 A0(高位)~ A15(低位),用 4Kx4 位的存储芯片组成 16KB 存储器,则产生片选信号的译码器的输入地址线应该是( )。 A. A2A3 B. A0A1 C. A12A13 D. A14A15
【答案】:?C -> A!接入各芯片地址端的是地址线的低 12位!
若内存地址区间为 4000H~43FFH,每个存储单元可存储16位二进制数,该内存区域用4片存储器芯片构成,构成该内存所用的存储器芯片的容量是( )。 A. 512×16bit B. 256×8bit C. 256×16bit D. 1024x8hit
【答案】:3FFH + 1 = 2^11,2^11 * 2 = 2^12 A. 9+2+2=13 x B. 8+1+2=11 x C. 8+2+2=12 √ D. 10+1+2=13 x
新的答案(2022.11.9)
4000~43FF:一共是2^10个字,每个字2B。
C选项每个字也是2B,用四片芯片构成——1024/4=256,正确,C。
内存按字节编址,地址从 90000H到 CFFFF H,若用存储容量为 16Kx8 位芯片构成该内存,至少需要的芯片数是( )。 A. 2 B. 4 C. 8 D. 16
【答案】:16K = 2^14。C-9=1100-1001=0011,0011 FFFF=2^18,18-14=4,D
若片选地址为 111 时,选定某一32Kx16位的存储芯片工作,则该芯片在存储器中的首地址和末地址分别为( )。 A. 00000H,01000H B. 38000H,3FFFFH C. 3800H,3FFFH D. 0000H,0100H
【答案】:111,2^15,B
如下图所示,若低位地址(A0~A11)接在内存芯片地址引脚上,高位地址(A12-A19)进行片选译码(其中A14和A16未参加译码),且片选信号低电平有效,则对图中所示的译码电路,不属于此译码空间的地址是( )

A. AB000H ~ ABFFFH B. BB00OH ~ BBFFFH C. EFOOOH ~ EFFFFH D. FEOOOH ~ FEFFFH
【答案】:
A:AB=1010 1011 -> 101 111 B:BB=1011 1011 -> 111 111 C:EF=1110 1111 -> 111 111 D:FE=1111 1110 -> 111 110
D
这道题的意思是某一个芯片的片选信号是这样的译码电路,然后看看给定的信号能不能让该芯片选通
【2009统考真题】某计算机主存容量为 64KB,其中ROM区为 4KB,其余为 RAM区,按字节编址。现要用2Kx8位的ROM 芯片和4Kx4 位的 RAM 芯片来设计该存储器,需要上述规格的ROM 芯片数和RAM 芯片数分别是( )。 A. 1, 15 B. 2, 15 C. 1, 30 D. 2, 30
【答案】:64KB = 60KB + 4KB。 ROM:4/2=2 RAM:60/2=30 D
【2010统考真题】假定用若干 2Kx4 位的芯片组成一个 8Kx8 位的存储器,则地址 0B1FH 所在芯片的最小地址是( )。 A. 0000H B. 0600H C. 0700H D. 0800H
【答案】:4,2->3位,2K=2^10,x xx00 0000 0000,B=1011,1000=8,D8Kx8 / 2Kx4 -> 字扩展 4, 位扩展 2
2K
0B1F -> 【】【3bit】【4bit】【4bit】->【---x1】【x2---】
0B -> [x1,x2] = [0,1] -> 【0000】【1000】【0000】【0000】 -> 0800
【2011 统考真题】某计算机存储器按字节编址,主存地址空间大小为 64MB,现用4Mx8 位的RAM 芯片组成32MB 的主存储器,则存储器地址寄存器MAR 的位数至少是( ) A. 22位 B. 23 C. 25位 D. 26
【答案】:64MB=2^{26}B,C
【2016 统考真题】某存储器容量为 64KB,按字节编址,地址 4000H~ 5FFFH 为 ROM区,其余为 RAM区。若采用8Kx4 位的 SRAM 芯片进行设计,则需要该芯片的数量是() A. 7 B. 8 C. 14 D. 16
【答案】:0000 ~ 1FFF = 2^13,64-8=56,56/4=14,C
【2018 统考真题】假定 DRAM 芯片中存储阵列的行数为r、列数为c,对于一个2Kx1位的DRAM 芯片,为保证其地址引脚数最少,并尽量减少刷新开销,则r、c的取值分别是( )。 A. 2048, 1 B. 64, 32 C. 32, 64 D. 1, 2048
【答案】:解析 B:6+5 C:5+6 为了尽量少的刷新开销,C
【2021 统考真题】某计算机的存储器总线中有24 位地址线和32 位数据线,按字编址,宇长为32位。如果 00 0000H~3F FFFFH 为RAM区,那么需要512Kx8位的RAM芯片数为() A. 8 B. 16 C. 32 D. 64
【答案】:2^22/2^19 = 2^3,8*4=32,C