2022.11.25
- 指令周期,机器周期,时钟周期(节拍/T周期)
- 定长/不定长的机器周期
- 取址、间址、执行、中断周期
- FE、IND、EX、INT
CPU 从主存中取出并执行一条指令的时间称为指令周期,不同指令的指令周期可能不同。指令周期常用若干机器周期来表示,一个机器周期又包含者干时钟周期(也称节拍或T周期,它是 CPU 操作的最基本单位)。每个指令周期内的机器周期数可以不等,每个机器周期内的节拍数也可以不等。下图反映了上述关系。下图(a)为定长的机器周期,每个机器周期包含 4个节拍(T);图(b)所示为不定长的机器周期,每个机器周期包含的节拍数可以为 4个,也可以为3个。

对于无条件转移指令JMP X,在执行时不需要访问主存,只包含取指阶段(包括取指和分析)和执行阶段,所以其指令周期仅包含取指周期和执行周期。
对于间接寻址的指令,为了取操作数,需要先访问一次主存,取出有效地址,然后访问主存,取出操作数,所以还需包括间址周期。间址周期介于取指周期和执行周期之间。
当 CPU 采用中断方式实现主机和 I/O 设备的信息交换时,CPU 在每条指令执行结束前,都要发中断查询信号,若有中断请求,则 CPU 进入中断响应阶段,又称中断周期。这样,一个完整的指令周期应包括取指、间址、执行和中断4个周期,如下图所示。

上述4个工作周期都有 CPU 访存操作,只是访存的目的不同。取指周期是为了取指令,间址周期是为了取有效地址,执行周期是为了取操作数,中断周期是为了保存程序断点,为了区别不同的工作周期,在 CPU 内设置 4 个标志触发器FE、IND、EX 和INT, 它们分别对应取指、间址、执行和中断周期,并以“1” 状态表示有效,分别由 1->FE、 1->IND、1->EX 和1->INT 这4个信号控制。
注意:中断周期中的进栈探作是将SP减1,这和传统意义上的进栈操作相反,原因是计算机的堆栈中都是向低地址增加,所以进栈操作是减1而不是加1.
数据流是根据指令要求依次访问的数据序列。在指令执行的不同阶段,要求依次访问的数据序列是不同的。而且对于不同的指令,它们的数据流往往也是不同的。
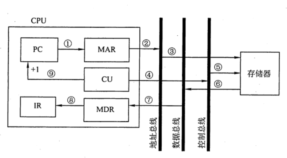
取指周期的任务是根据 PC 中的内容从主存中取出指令代码并存放在IR中。
取指周期的数据流如下图所示。PC 中存放的是指令的地址,根据此地址从内存单元中取出的是指令,并放在指令寄存器IR中,取指令的同时,PC加“1”。
取指操作由硬件自动完成,无需得到相应的指令。
取指周期的数据流向如下:

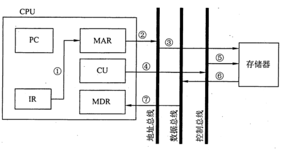
间址周期的任务是取操作数有效地址。以一次间址为例,将指令中的地址码送到 MAR 并送至地址总线,此后CU 向存储器发读命令,以获取有效地址并存至 MDR.

间址周期的数据流向如下:
其中,Ad(R)表示取出 IR 中存放的指令字的地址字段
执行周期的任务是取操作数,并根据 IR 中的指令字的操作码通过 ALU 操作产生执行结果。不同指令的执行周期操作不同,因此没有统一的数据流向。
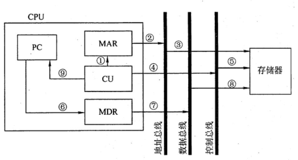
中断周期的任务是处理中断请求。假设程序断点存入堆栈中,并用SP 指示栈顶地址,而且进栈操作是先修改栈顶指针,后存入数据,数据流如图所示。

中断周期的数据流向如下:(SP减1是进栈!)
一个指令周期通常要包括几个时间段(执行步骤),每个步骤完成指令的一部分功能,几个依次执行的步骤完成这条指令的全部功能。出于性能和硬件成本等考虑,可以选用3种不同的方案来安排指令的执行步骤
对所有指令都选用相同的执行时间来完成,称为单指令周期方案。此时每条指令都在固定的时钟周期内完成,指令之间串行执行,即下一条指令只能在前一条指令执行结束后才能启动。因此,指令周期取决于执行时间最长的指令的执行时间。对于那些本来可以在更短时间内完成的指令,要使用这个较长的周期来完成,会降低整个系统的运行速度。
对不同类型的指令选用不同的执行步骤,称为多指令周期方案。指令之间串行执行,即下条指令只能在前一指令执行完后才能启动。但可选用不同个数的时钟周期来完成不同指令的执行过程,指令需要几个周期就为其分配几个周期,不再要求所有指令占用相同的执行时间。
指令之间可以并行执行的方案,称为流水线方案,其追求的目标是力争在每个时钟脉冲周期完成一条指令的执行过程 (只在理想情况下才能达到该效果)。这种方案通过在每个时钟周期启动一条指令,尽量让多条指令同时运行,但各自处在不同的执行步骤中。
计算机工作的最小时间周期是( ) A. 时钟周期 B. 指令周期 C. CPU周期 D. 工作脉冲
【答案】:A
采用DMA 方式传递数据时,每传送一个数据就要占用( ) A.指令周期 B.时钟周期 C.机器周期 D.存取周期
【答案】:D
指令周期是指() A. CPU从主存取出一条指令的时间 B. CPU 执行一条指令的时间 C. CPU从主存取出一条指令加上执行这条指令的时问 D. 时钟周期时问
【答案】:C
指令( )从主存中读出 A. 总是根据程序计数器 B. 有时根据程序计数器,有时根据转移指令 C. 根据地址寄存器 D. 有时根据程序计数器,有时根据地址寄存器
【答案】:A
在一条无条件跳转指令的指令周期内,程序计数器(PC)的值被修改了()次。 A.1 B.2 C.3 D.不能确定
【答案】:B
在取指操作后,程序计数器中存放的是()。 A. 当前指令的地址 B. 程序中指令的数量 C. 已执行的指令数量 D.下一条指令的地址
【答案】:A->D
以下叙述中,错误的是( )。 A. 指令周期的第一个操作是取指令 B. 为了进行取指操作,控制器需要得到相应的指令 C. 取指操作是控制器自动进行的 D. 指令执行时有些操作是相同或相似的
【答案】:D->B
指令周期由一个到几个机器周期组成,第一个机器周期是(). A. 从主存中取出指令字 B. 从主存中取出指令操作码 C. 从主存中取出指今地址码 D. 从主存中取出指令的地址
【答案】:A
由于 CPU 内部操作的速度较快,而 CPU 访问一次存储器的时间较长,因此机器周期通常由()来确定. A. 指令周期 B. 存取周期 C. 间址周期 D. 中断周期
【答案】:B
以下有关机器周期的叙述中,错误的是( )。 A.通常把通过一次总线事务访问一次主存或 IO 的时间定为一个机器周期 B. 一个指令周期通常包含多个机器周期 C. 不同的指令周期所包含的机器周期数可能不同 D. 每个指令周期都包含一个中断响应机器周期
【答案】:D
下列说法中,合理的是(). A.执行各条指令的机器周期数相同,各机器周期的长度均匀 B. 执行各条指令的机器周期数相同,各机器周期的长度可变 C.执行各条指令的机器周期数可变,各机器周期的长度均匀 D.执行各条指令的机器周期数可变,各机器周期的长度可变
【答案】:C->D
以下关于间址周期的描述中,正确的是()。 A. 所有指令的间址操作都是相同的 B. 凡是存储器间接寻址的指令,它们的操作都是相同的 C.对于存储器间接寻址和寄存器间接寻址,它们的操作是不同的 D. 都不对
【答案】:D->C
CPU 响应中断的时间是( )。 A.一条指令执行结束 C.取指周期结束 B. IO设备提出中断 D.指令周期结束
【答案】:A
以下叙述中,错误的是( )。 A. 取指操作是控制器固有的功能,不需要在操作码控制下完成 B. 所有指令的取指操作是相同的 C. 在指令长度相同的情况下,所有指令的取指操作是相同的 D. 中断周期是在指令执行完成后出现的
【答案】:B
( )可区分存储单元中存放的是指令还是数据。 A. 控制器 B.运箅器 C.存储器 D.数据通路
【答案】:A
下列说法中,正确的是( )。 I. 指令字长等于机器字长的前提下,取指周期等于机器周期 II. 指令字长等于存储字长的前提下,取指周期等子机器周期 III. 指令字长和机器字长的长度没有任何关系 IV. 为了硬件设计方便,指令字长都和存储字长一样大 A. II、III B. II、III、IV C. I、III、IV D. I、IV
【答案】:B->A。指令字长一般都取存储字长的整数倍,若指令字长等于存储字长的2倍,则需要两次访存,取指周期等于机器周期的 2 倍;若指令字长等于存储字长,则取指周期等于机器周期,因 此I错。根据I的分析可知,II正确。指令字长取决于操作码的长度、操作数地址的长度和操作数地址的个数,与机器字长没有必然的联系。但为了硬件设计方便,指令字长一般取字节或存储字长的整数倍,因此 III 正确。根据 III 的分析可知,指令字长一般取字节或存储字长的整数倍,而不一定都和存储字长一样大,因此IV错误。综上所述,II、III正确。
【2009 统考真题】冯•诺依曼计算机中指令和数据均以二进制形式存放在存储器中,CPU 区分它们的依据是( )。 A.指令操作码的译码结果 B.指令和数据的寻址方式 C.指令周期的不同阶段 D.指令和数据所在的存储单元
【答案】:C
【2011 统考真题】假定不采用Cache 和指令预取技术,且机器处于 “开中断状态,则在下列有关指令执行的叙述中,错误的是( )。 A. 每个指令周期中 CPU 都至少访问内存一次 B. 每个指令周期一定大于等于一个CPU 时钟周期 C. 空操作指令的指令周期中任何寄存器的内容都不会被改变 D. 当前程序在每条指令执行结束时都可能被外部中断打断
【答案】:C